九江百度-百度惡意點擊怎么辦?送你9大方法!
如果有光的地方,就不會有黑暗,這句話非常適合:惡意點擊!這篇由常規方法,講到特殊方法,望有光的地方多點,黑暗少點!某省會,搞醫療的,那個惡意點擊,每天狂轟亂炸,每月數以百萬計,錢全燒給了百度!突而,某一“狗頭軍師”想出了個“絕妙的點子”,召集了地區三家有實力的同行,擺酒開會說:咱三分天下吧!只要我們三家聯手,把剩余的小魚小蝦都干掉,錢就都是我們的了……現實版“三國志”,當時,我就覺得穿越了呀,搞笑!
一、常規操作
1.商盾訪客與ip屏蔽設置:
進入百度商盾,點擊新增“訪客策略設置”,分別建三次:15分鐘3次,1小時4次,6小時5次,“ip策略展現屏蔽”,也類同!如圖:

效果可在“實時ip查詢"里看到,位置:點擊手動展現屏蔽,再點實時ip點擊屏蔽,如圖:


我處理過的賬戶,只要開了商盾,總能節省一些錢!呵呵,可見你的對手,沒有手軟!
二、何為“可疑ip”?附3種數據分析法:
商盾中,找到”手動展現屏蔽“展現,會有四個選項,如圖:
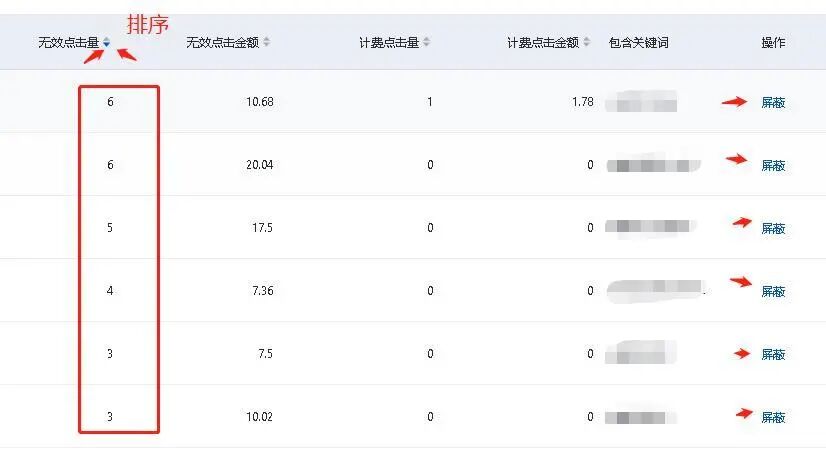
1.我們先看,實時ip點擊屏蔽:點擊進入,會看到:
找到無效點擊量,然后點擊旁邊 三角形的小箭頭 排下序,右邊就是對應的屏蔽設置。
凡是有3次以上的,全屏掉!
如果你賬戶點擊量挺大,那1次的也不要放過!可能會誤傷正常用戶,但這點代價是值得的!雖然百度說:因為升級ipv6,導致有些ipv4屏蔽不準,但是,你仍然可以在”新增ip屏蔽“中添加”可疑“的ip,因為有的同行傻,每天就一部手機一個ip點你,也不清緩存,所以有用!
咱繼續看哪些是”可疑ip”??
2.打開基木魚,位置:數據分析--數據看板--實時訪客--訪問明細
凡是訪問時長低于10秒的,就可以屏掉!
1.要么是惡意點擊,人家要點你,動作會比較快,不會留很久,呵呵!3.用戶搜索的詞打偏,也會出現這種情況!比如,用戶搜cad是什么?結果你的網頁是培訓學校!那種,搜索詞又對應,網頁又沒問題,卻只有3秒5秒的,是惡點!順便,你可以看下:哪些關鍵詞停留時間正常,或很長,這類關鍵詞用戶是有興趣的!是否有同一個同一類搜索詞大量涌進來,這屬于數據分析,不多說了!
繼續看哪些是”可疑ip”??
3.把這個“實時訪客”的表下載下來:
然后,用excel表,高亮顏色顯示重復ip,然后再按顏色排序,這樣重復的ip就找出來了!如果有大量重復ip,就在開始說的新增ip里屏掉吧!該留線索的已經留了,你這一步,是后置動作,關系不大!如圖:另外,還有幾種躲避式辦法,話說惹不起,咱總躲得起吧!
三、關鍵詞分拆法
有的關鍵詞,價格又高又貴,對手往往就是找這類關鍵詞點你!多注意這類詞,然后把這些詞“精確否掉”!有用的東西,可能話不多,聽懂掌聲,呵呵,變掌聲哥了,開玩笑!惡意點擊,常規在早晨一波,特別是競爭不太明顯,預算比較小的行業,尤其注意!以前,有一個主管,要求員工,上班首先打開手機,把對手先刷一次再說!這種情況,一般發生在早8點到9點,如果預算小,這個時段避開,利遠大于弊端!